schwerhoeriges Baby, Mehrsprachige Familie

Für Ratsuchende, Erfahrungsaustausch, Hilfestellungen
Khan
Beiträge: 22
Registriert: 2. Dez 2011, 09:15
14

Re: schwerhoeriges Baby, Mehrsprachige Familie

#26

Beitrag von Khan »

fast-foot hat geschrieben:Kannst Du die Datei mit einem Bildbearbeitungsprogramm öffnen (auf Windows vorhanden)?

Dann zum Beispiel als JPG abspeichern (unter Windows links oben auf "Datei" klicken und dann "speichern unter" anwählen; dann sollten die Optionen erscheinen).
Oh,jetzt erst entdeckt... Probiere ich mal. Ich habe halt zur Zeit nur den Laptop meines Mannes und da ist alles nur auf Jap. Im lesen bin ich nicht soooo....... Aber ich probier mal ein bischen rum.
Gruss K.

Klappt! Also dann mach ich das jetzt mal mit allen und versuch es nochmal einzustellen.
Khan
Beiträge: 22
Registriert: 2. Dez 2011, 09:15
14

Re: schwerhoeriges Baby, Mehrsprachige Familie

#27

Beitrag von Khan »

Mit Beitrag editieren krieg ich die Dateien nicht hochgeladen. Mal sehen, ob es mit einer neuen Antwort geht.

Ahhhh, Datei zu gross... ich probiers morgen, runterzurechnen.
gute Nacht
Khan
Beiträge: 22
Registriert: 2. Dez 2011, 09:15
14

Re: schwerhoeriges Baby, Mehrsprachige Familie

#28

Beitrag von Khan »

Ein neuer Versuch...
Dateianhänge
Nuova digitalizzazione-20111205081157-00003 (1)a.JPG
(65.01 KiB) 127-mal heruntergeladen
Nuova digitalizzazione-20111205081154-00002 (1)a.JPG
(143.6 KiB) 141-mal heruntergeladen
Nuova digitalizzazione-20111205081151-00001 (3)a.JPG
(95.06 KiB) 131-mal heruntergeladen
Khan
Beiträge: 22
Registriert: 2. Dez 2011, 09:15
14

Re: schwerhoeriges Baby, Mehrsprachige Familie

#29

Beitrag von Khan »

:D hurra!!!

das ist alles, was ich bisher habe. von der normalen hno untersuchung des trommelfells und durch die nase habe ich kein schriftliches ergebnis. aber da war ja alles intakt.

hoffentlich kann man es erkennen.
Dateianhänge
Nuova digitalizzazione-20111205081202-00005 a.JPG
(125.3 KiB) 138-mal heruntergeladen
Nuova digitalizzazione-20111205081159-00004 (1)a.JPG
(113.32 KiB) 133-mal heruntergeladen
fast-foot
Beiträge: 5624
Registriert: 12. Okt 2008, 15:55
17

Re: schwerhoeriges Baby, Mehrsprachige Familie

#30

Beitrag von fast-foot »

Hallo Khan,

Mal kurz dazu, was ich gerade gelesen und verstanden habe (oder glaube, verstanden zu haben):

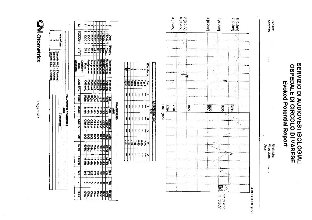
Mittlere beidseitige Perzeptionsstörung (Wahrnehmungsstörung bzw. Schallempfindungsstörung), Hörschwelle beideseits bei 50 dB, Tympanogramm vom Typ A (muss ich nachschauen, was das heisst; vermutlich so weit unauffällig), aber Stapediusreflex nicht auslösbar (was mit einer Innenohrproblematik (oder/und vielleicht auch einem Problem retrocochleärer Art)) korreliert.

Also grundsätzlich nicht viel Neues.

Die Kurven schaue ich mir dann später genauer an.

Dies vorerst.

Gruss fast-foot
Ausgewiesener Spezialist* / Name: Wechselhaft** / Wohnsitz: Dauer-Haft (Strafanstalt Tegel) / *) zwecks Vermeidung weiterer Kollateralschäden des Landes verwiesen / **) Name fest seit Festnahme
fast-foot
Beiträge: 5624
Registriert: 12. Okt 2008, 15:55
17

Re: schwerhoeriges Baby, Mehrsprachige Familie

#31

Beitrag von fast-foot »

Hallo Khan,

zum letzten Bild:

Das war eine Click-BERA mit Luft- und Knochenleitung, allerdings nur für das rechte Ohr.

Hast Du kein weiteres Blatt, das fast identisch aussieht (für das linke Ohr)?

Ausserdem sehe ich die Potentialkurven nicht richtig (vielleicht etwas dunkler oder/und höheren Kontras einstellen, falls möglich).

Was ich aber zu erkennen glaube, ist, dass die Knochenleitung bei etwa 30 dB liegt und die Luftleitung bei etwa 50 dB. Mich dünkt jedoch (speziell bei der Knochenleitung), dass die Kurve sehr unruhig aussieht, was nahe der Hörschwelle kaum der Fall sein sollte (hat das Kind immer ruhig geschlafen und war es auch im Raum die ganze zeit ruhig?).

Weisst Du etwas darüber, ob das linke Ohr auch geprüft wurde (mit den Elektroden am Kopf) und wenn nicht, warum nicht?

Die Tympanometrie (drittes Bild) fiel so weit normal aus (Kurve vom Typ A).

Die TEOAEs (zweitletztes Bild) waren nicht auslösbar (bei beiden Ohren).

Insgesamt scheint rechts eine mittelgradige Schallempfindungsschwerhörigkeit vorzuliegen, die auf Grund der Tympanometrie und der nicht auslösbaren TEOAEs innenohrbedingt scheint. Links vermutlich ebenso (nehme ich an, da die Hörschwellen beim zweiten Bild irgendwo im mittelgradigen Bereich eingetragen wurde). In dieses Bild passt der nicht auslösbare Stapediusreflex (wobei ich hier nur annehme, dass er bereits seit Geburt auslösbar ist und er auch bei mittelgradigen Schwerhörigkeiten nicht ausgelöst wird; nehme ich an, da er bei normalem Gehör ab frühestens etwa 70 dB ausgelöst wird und hier der Level 115 dB betrug).

Etwas unklar sind für mich die Knochenhörleitungshörschwelle rechts und die BERA generell (unruhige Kurven, die ich zudem nicht gut sehe; was ist mit dem linken Ohr?).

So weit aus meiner Sicht. Bei Fragen einfach melden.

Gruss fast-foot
Ausgewiesener Spezialist* / Name: Wechselhaft** / Wohnsitz: Dauer-Haft (Strafanstalt Tegel) / *) zwecks Vermeidung weiterer Kollateralschäden des Landes verwiesen / **) Name fest seit Festnahme
Khan
Beiträge: 22
Registriert: 2. Dez 2011, 09:15
14

Re: schwerhoeriges Baby, Mehrsprachige Familie

#32

Beitrag von Khan »

Vielen Dank!
Also ich habe nochmal nachgesehen. Links gibt es tatsaechlich keine Unterlagen. Aber es wurde definitiv diese Bera auch links gemacht, das Ohr kam sogar zuerst dran. Ich werde da nochmal im KH nachfragen. Mir ist das gar nicht aufgefallen.
fast-foot
Beiträge: 5624
Registriert: 12. Okt 2008, 15:55
17

Re: schwerhoeriges Baby, Mehrsprachige Familie

#33

Beitrag von fast-foot »

Hallo Khan,

Danke für die Bilder. Siehst Du denn beim letzten Bild auf Deinem Originalblatt alle Kurven so, wie man hier die eine Kurve rechts sieht (es sind eigentlich zwei Kurven, aber ich kann nur eine gut erkennen)?

Wenn ich die Linien besser sehen könnte, wäre das vielleicht noch aufschlussreich (so kann ich nicht viel dazu sagen); ist aber nicht so wichtig.

Gruss fast-foot
Ausgewiesener Spezialist* / Name: Wechselhaft** / Wohnsitz: Dauer-Haft (Strafanstalt Tegel) / *) zwecks Vermeidung weiterer Kollateralschäden des Landes verwiesen / **) Name fest seit Festnahme
Khan
Beiträge: 22
Registriert: 2. Dez 2011, 09:15
14

Re: schwerhoeriges Baby, Mehrsprachige Familie

#34

Beitrag von Khan »

Vielen Dank fuer Deine Muehe!

Also wir haben i.d. Zwischenzeit auch die Kurven vom linken Ohr, wir scannen es morgen ein. (Leider war unser neuer Scanner schon kaputt und wir haben ihn umgetauscht. Muss noch eingerichtet werden.) Die Kurven vom rechten und vom linken Ohr auf meinen "Original"-Kopien sind beide sehr schwach, aber besser erkennbar, als auf den eingescannten Bildern. Ich versuche mal, ob ich es besser einscannen kann.

Dann war es also doch eine Bera. Der Termin im Jan. ist dann wohl zur Verifizierung, nehme ich an. Bei der Untersuchung hat sie ruhig geschlafen, aber bei so kleinen Babys wechselt die Schlafphase im Schnitt glaube ich alle 20 Min. Einmal ist sie aufgewacht, das war aber, als das linke Ohr gerade fertig war und das rechte anfing. Wir haben dann wieder etwas gewartet, bis sie wieder richtig eingeschlafen war und dann kam das rechte Ohr dran.
Es waren 2 Personen, eine Aerztin hat den Test durchgefuehrt und eine hat nur dabeigesessen und zugesehen. Am Ende haben sich beide beraten.

Ich habe mittlerweile auch mit Frau Kestner telefoniert und sie hat mir viel Mut gemacht und mir dazu geraten, die Mehrsprachigkeit auf jeden Fall auch bei der schwerhoerigen Tochter beizubehalten.

LG
Khan
Khan
Beiträge: 22
Registriert: 2. Dez 2011, 09:15
14

Re: schwerhoeriges Baby, Mehrsprachige Familie

#35

Beitrag von Khan »

So, endlich habe ich das linke Ohr auch eingescannt. Allerdings hat das mit dem besser sichtbar nicht geklappt. Das Original ist halt auch schon sehr schwach. Hoffentlich erkennt man wenigstens das Wichtigste. Ansonsten koennte ich hoechstens noch die Kurve nachmalen. Aber soweit ich verstanden habe, gibts im Jan. ja sowieso schon wieder neue.

LG Khan
Khan
Beiträge: 22
Registriert: 2. Dez 2011, 09:15
14

Re: schwerhoeriges Baby, Mehrsprachige Familie

#36

Beitrag von Khan »

aehm... ich sollte die Kurve natuerlich auch noch einstellen....
hier ist sie.
Dateianhänge
Nuova digitalizzazione-20111215080002-00002a.JPG
(111.26 KiB) 113-mal heruntergeladen
fast-foot
Beiträge: 5624
Registriert: 12. Okt 2008, 15:55
17

Re: schwerhoeriges Baby, Mehrsprachige Familie

#37

Beitrag von fast-foot »

Danke für das Einstellen der Kurven!

Die Knochenleitungshörschwelle scheint auch links bei 30 dB zu liegen und die Luftleitunshörschwelle ebenfalls bei 50 dB.

Allerdings sehe ich die Kurven zu wenig gut bis fast gar nicht.
Ein Nachzeichnen (z.B. auf einer ausgedrucketen Kopie) könnte hilfreich sein.

Links könnte ein Recruitment vorhanden sein; dies würde meiner Meinung nach allerdings im Widerspruch stehen zur eher guten Knochenleitungshörschwelle und zu einer Schallleitungskomponente von etwa 20 dB.

Geht man nach den eingetragenen BERA-Werten, liegt eine leichte Schallempfindungsschwerhörigkeit mit geringer Schallleitungskomponente vor. Trifft letztere tatsächlich zu, wäre einerseits dort noch Verbesserungspotential vorhanden, andererseits auch in Bezug auf die retrocochleären Hörbahnen, im anderen Falle nur in Bezug auf diese.

Wird im Januar nochmals eine BERA durchgeführt?

Gruss fast-foot
Ausgewiesener Spezialist* / Name: Wechselhaft** / Wohnsitz: Dauer-Haft (Strafanstalt Tegel) / *) zwecks Vermeidung weiterer Kollateralschäden des Landes verwiesen / **) Name fest seit Festnahme
Khan
Beiträge: 22
Registriert: 2. Dez 2011, 09:15
14

Re: schwerhoeriges Baby, Mehrsprachige Familie

#38

Beitrag von Khan »

Vielen Dank fuer Deine Beurteilung der Kurven!
Das hoert sich alles viel besser an, als ich es anfangs erwartet hatte.
Mitte Januar haben wir einen termin in der Paedaudiologie, wo wir die Kleine ab 6 Uhr morgens wach halten sollen, um 9.30 in die Klinik kommen, dann ist irgendeine Untersuchung oder ein Gespraech oder so, dann ab 10 Uhr soll ich sie stillen bis sie schlaeft, ab 10.30 bzw. wenn sie dann eben tief schlaeft kommt wieder eine ca. 40 -60 Minuten dauernde Untersuchung. So war es letztes Mal auch, also denke ich, sie machen dasselbe nochmal, um die Werte zu ueberpruefen. Es sollen dann noch 2x Untersuchungen dieser Art folgen, bevor HGs angepasst werden. Ausserdem haben wir im Januar ja auch noch Anfang Januar den Termin mit dieser Kommunikationsfrau.... (evtl. Logopaedin?), die die altersentsprechende Kommunikationsfaehigkeit ueberpruefen will. Vielleicht ist das ja auch eine Art Fruehfoerderin.

Was bedeuted denn in diesem Zusammenhang Recruitment?

LG und falls Du viel zu tun hast (Weihnachten etc), dann ist es voellig oK, wenn Du erst nach WH antwortest.
K.
Anyo
Beiträge: 9
Registriert: 2. Sep 2010, 11:46
15

Re: schwerhoeriges Baby, Mehrsprachige Familie

#39

Beitrag von Anyo »

Hallo Khan,

Einer meiner beiden Söhnen ist beitseitig schwerhörig (55-65 dB), und wir sind auch 3-sprachig (dass heisst ich spreche Deutsch, mein Mann Arabisch und in der Schule Französisch-wir wohnen in Belgien). Damals haben uns alle beraten (also die Leute die zumindestens Erfahrung haben) dieses schöne Projekt auch mit unserem schwerhörigen Sohn auszuprobieren. Mein Sohn ist jetzt fast 3 und spricht schon viel besser (Deutsch am besten, dann Französisch aber auch einige Wörter Arabisch) als sein normal hörender Bruder in diesem Alter.
Viele Grüsse
Anyo
Beiträge: 9
Registriert: 2. Sep 2010, 11:46
15

Re: schwerhoeriges Baby, Mehrsprachige Familie

#40

Beitrag von Anyo »

Sorry, ich habe zu schnell auf "senden" gedrückt: er trägt natürlich Hörgeräte und bekommt Logopedie (3x die Woche)...
Khan
Beiträge: 22
Registriert: 2. Dez 2011, 09:15
14

Re: schwerhoeriges Baby, Mehrsprachige Familie

#41

Beitrag von Khan »

Hallo Anyo!

Du machst mich zuversichtlich! Und ich werde mich auf jeden Fall auch um Logopaedie kuemmern.
Bis jetzt fuehle ich mich in unserer Klinik gut beraten und versorgt, abgesehen von dem Rat, eine unserer Muttersprachen aufzugeben.

Meine 70 jaehrigen Schwiegereltern haben sich jetzt deutsch Lehrbuecher ausgeliehen, um mit der kleinen kommunizieren zu koennen :eek: :lol: :help: irgendwie ja schon toll, aber ich bin trotzdem froh, dass wir Ihnen sagen koennen, dass wir sicher sind, dass es mit Jap. funktionieren wird.

Geht Dein Sohn in den belgischen Kiga?

Frohes Fest
K.
Anyo
Beiträge: 9
Registriert: 2. Sep 2010, 11:46
15

Re: schwerhoeriges Baby, Mehrsprachige Familie

#42

Beitrag von Anyo »

Hallo Khan,

Ja, er geht in die normale "maternelle" mit seinem Bruder (FR). Das klappt alles prima. Die Logopedie ist auch auf Französisch. Mit meinem Mann spreche ich Französisch, und wenn wir alle zusammen sind auch, nur wenn ich spezifisch mit den Kindern rede (wenn was mein Mann nicht unbedingt verstehen muss- aber er fängt jetzt auch an es zu verstehen...) dann Deutsch. Mein Mann macht das selbe in Arabisch. Ich bin sehr oft mit den Kindern alleine und spreche sie dann immer in Deutsch an. Sie sprechen beide besser Deutsch :), was mich sehr glücklich macht. Wenn wir alle zusammen sind, spricht mein Sohn mit mir in Deutsch, dreht sich zu meinem Mann, und sagt dasselbe in Französisch oder manschmal auch Arabisch.
Ich glaube jedes Kind ist anders mit dem Sprachen lernen. Ich glaube das wichtigste ist, sich selber und dem Kind keinen Druck zu machen und zusammenzuhalten. Und wenn es klappt, dann um so besser, wenn nicht, dann klappt es auch, nur anders.
Alles Gute,
Anyo
Khan
Beiträge: 22
Registriert: 2. Dez 2011, 09:15
14

Re: schwerhoeriges Baby, Mehrsprachige Familie

#43

Beitrag von Khan »

Hallo Anyo

Wir handhaben das ja aehnlich, wie Du es beschreibst. Nur, dass wir als Familiensprache eben nicht die unseres Gastlandes haben, sondern die meines Mannes und ich spreche die Kinder nur auf deutsch an.
Meine Grosse macht das auch so, mit dem "fuer Papa uebersetzen". Finde ich immer wieder klasse, wie locker Kinder mit so ewas umgehen.

Italien ist zwar schoen, aber weder unsere Wahlheimat noch unser dauerhaftes Domizil. Von daher steht fuer uns fest, dass, sollten sich aufgrund der Sprachvielfalt Probleme ergeben, dass wir die Kleine dann in den deutschen KiGa schicken und italienisch bei ihr vernachlaessigen.
Wenn allerdings alles oK laeuft, kommt sie in den selben ital. KiGa, indem gerade auch unsere Grosse ist, und mit dem wir sehr zufrieden sind. Die haben uebrigens ein gehbehindertes Kind und ein geistig behindertes Kind und die Integration scheint gut zu funktionieren, die beiden sind bei ALLEN Aktivitaeten mit dabei, zur Not wird das gehbehinderte eben getragen, falls mit dem Spezialrollstuhlgehwagen (keine Ahnung wie das Ding heisst) kein Durchkommen ist.
Nun, bis dahin haben wir ja noch 2,5 Jahre Zeit.

Am Dienstag ist unser Logopaedischer(?) Test Termin. Mal sehen, was da ueberhaupt getestet wird, bzw. wie.

LG Khan
Khan
Beiträge: 22
Registriert: 2. Dez 2011, 09:15
14

Re: schwerhoeriges Baby, Mehrsprachige Familie

#44

Beitrag von Khan »

:eek: :} :D

SO
2. BERA zur Kontrolle und Kommunikationstest.

Kommunikationstest(diverse geraeuschvolle Spielsachen wurden von einer Aerztin (?) herumgewedelt, mal links mal rechts - mit Bravour bestanden, aber die KLeine mochte die Aerztin nicht und hat bie jedem Blickkontakt mit ihr zum weinen angesetzt....
Da sie aber zu Hause nicht auf spezielle Geraeusche reagiert (zB Staubsauger) , frage ich mich, ob sie evtl. die Bewegungen registriert hat und daraufhin reagiert hat.

BERA und andere Tests (die gleichen wie letztes Mal:)
30 db HL !
LAut Aerztin sei das im Bereich normalhoerend und weder sei Therapie noch Hoergeraete angezeigt, wir sollen aber gut beobachten und wenn Auffaellligkeiten auftauchen sofort und ohne Ueberweisung direkt mit der KLinik Kontakt aufnehmen. Die Mehrsprachigkeit sei auch kein Problem (mehr).

Ich dachte, 30 db sei leicht schwerhoerig.... oder ist das bei Kindern normal in dem Alter?
Soll ich die Ergebnisse noch einem andern KH schicken und beurteilen lassen? Oder dort lieber gleich noch eine Kontrollbera machen lassen?

Eigentlich will ich die Aussage der Aerztin einfach nur so hinnehmen und happy sein, und weiter beobachten, oder ist das fahrlaessig?
Wie seht Ihr das?

LG Khan
fast-foot
Beiträge: 5624
Registriert: 12. Okt 2008, 15:55
17

Re: schwerhoeriges Baby, Mehrsprachige Familie

#45

Beitrag von fast-foot »

Hallo Khan,
Khan hat geschrieben:Ich dachte, 30 db sei leicht schwerhoerig.... oder ist das bei Kindern normal in dem Alter?
Dieser Wert ist bei Kindern in diesem Alter "normal" (auf Grund verschiedenster Begebenheiten ist die Messung und auch Interpretation ungenau und eine GENAUE Beurteilung, ob die Hörschwellen im "Sollbereich" liegen, nicht möglich).

Der Wert an und für sich bedeutet eine leichte Schwerhörigkeit. Beim ersten Test ergab die Luftleitungshörschwelle 50 dB, was meiner Meinung nach eine mögliche Schwerhörigkeit (in einem Alter, in dem man dies besser beurteilen kann), nicht unwahrscheinlich erscheinen lässt.

So, wie Du das schilderst, sieht es nach einer Verbesserung der BERA-Werte von 50 dB auf 30 dB aus (also haben sich Paukenergüsse aufgelöst und/oder die retrocohleären Hörbahnen entwickelt und/oder die Messung/Interpretation ist etwas genauer geworden; dies ist normal, kann aber auch nur eine etwas andere Interpretation von ähnlichen Messergebnissen sein).

Ich kann zu den Kurven nichts sagen, da ich sie nicht sehe. Deshalb sind die Resultate, laut Deiner Schilderung, positiv.

Allerdings könnte man nochmals wegen der TEOAEs nachfragen (Otoemissioni), ob sie immer noch nicht auslösbar waren (assenti). Dies MUSS allerdings nicht in jedem Falle etwas bedeuten und sie sind mittlerweile vielleicht auch auslösbar (dann waren Paukenergüsse meiner Ansicht nach höchst wahrscheinlich die Ursache, was dann die besseren BERA-Werte bestätigen würde).

In drei Monaten eine weitere Kontrolle fände ich sinnvoll, im Moment wäre eine Anpassung von Hörgeräten eh zu früh.

Dies vorerst (meine persönliche Sichtweise).

Gruss fast-foot
Ausgewiesener Spezialist* / Name: Wechselhaft** / Wohnsitz: Dauer-Haft (Strafanstalt Tegel) / *) zwecks Vermeidung weiterer Kollateralschäden des Landes verwiesen / **) Name fest seit Festnahme
Khan
Beiträge: 22
Registriert: 2. Dez 2011, 09:15
14

Re: schwerhoeriges Baby, Mehrsprachige Familie

#46

Beitrag von Khan »

Vielen Dank, fast foot, fuer die schnelle Antwort.

Also ich habe gerade nachgesehen, Otoemissioni sind auf dem einen Ohr ausloesbar und auf dem anderen immer noch assenti.
beim Stapediusreflex steht im Untersuchungsdiagram ausloesbar, und in der Zusammenfassung nicht ausloesbar :help: da muss ich wohl nochmal nachfragen, ist vielleicht ein Druckfehler in der Zusammenfassung.

Die Untersuchung und Interpretation der Kurven hat uebrigens dieselbe Aerztin gemacht, wie letztes Mal. Die wurde uns sozusagen als Zustaendige zugeteilt.
Ich scanne die Kurven im Laufe der Woche mal ein.

Beim linken Ohr hat sie recht unruhig geschlafen, ich hatte den Eindruck, die Signale stoeren sie. Beim rechten hat sie geschlafen, wie ein Stein (und zwar war es so sowohl bei der BERA, als auch bei den TEOAEs).

Gruesse
K.
Antworten